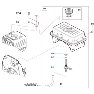
Mixture tap Comer C50 C52
15.45 €
C050-430
Complete tap
Description
Complete tap
Part n°91 of the second image attached
